Новости | Автокаталог | Автоклубы | Автоспорт | Мотобол | Фото и видео | Информация ГАИ | ГБО | Тюнинг

Форум доступен только для чтения

Текущее время: 6.02.2026 15:08

Часовой пояс: UTC + 2 часа [ Летнее время ]




Начать новую тему Ответить на тему  [ Сообщений: 167 ]  На страницу Пред.  1 ... 8, 9, 10, 11, 12  След.
Автор Сообщение
 Заголовок сообщения: Re: Клапан EGR
СообщениеДобавлено: 9.11.2012 12:00 
Не в сети

Зарегистрирован: 5.11.2012 20:42
Сообщения: 136
Aleksey писал(а):
Цитата:
полностью убираю клапан ЕГР, соединяющий эти два отверстия и перекрываю их одной пластиной через прокладку или там герметик, таким образом я просто закрываю "ЛИШНИЕ" дырки в каждом из коллекторов. Так?
Именно так.

Затем убираем трубку 7, убираем тройник Н. Вместо трубок 8 и 4 ставим трубку 7.

Изображение

Резиновая пробка на штуцере впускного коллектора это просто пробка.
Обычно её меняют на новую, или глушат этот ненужный штуцер любым надежным способом.


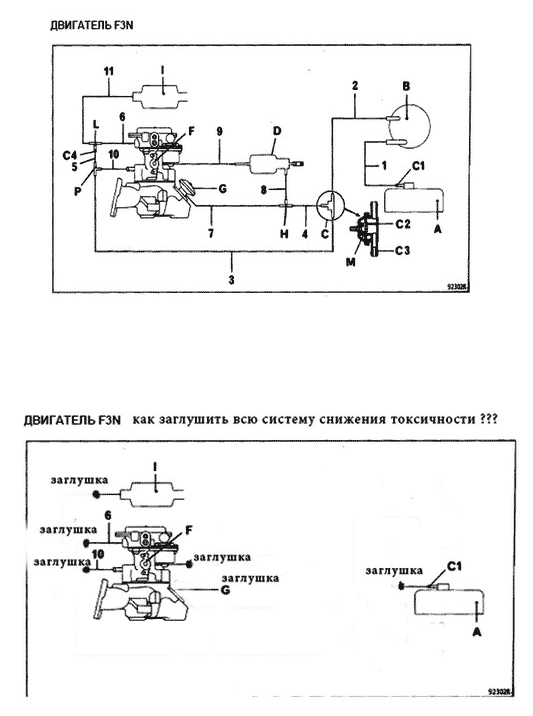
Алексей, большое спасибо за ответ! А можно всю эту схему снижения токсичности привести к такому вот виду? Первая схема - оригинал, вторая - поглушить все к черту вообще.

Смущает только то что к моновпрыску подходят еще целых четыре канала и я, к сожалению, пока не понимаю назначения ни одного из них. И этот отстойник на двигателе... Чего там отстаивается?

Изображение

_________________
Рено 19, двигатель F3N L-740, моно


Вернуться к началу
 Профиль  
 
 Заголовок сообщения: Re: Клапан EGR
СообщениеДобавлено: 9.11.2012 12:41 
Не в сети
Аватара пользователя

Зарегистрирован: 2.04.2008 13:10
Сообщения: 4609
Откуда: Минск, Чкалова
dimaus писал(а):
2. Клапан ЕГР по какому то своему "алгоритму" периодически берет некое количество отработанного газа из выпускного коллектора (втягивает, приоткрывается... неважно) и этот газ опять поступает во впускной коллектор и дальше в цилиндры двигателя так сказать на второй круг. Для чего это сделано оставим этот вопрос химикам и физикам... (лично мне достаточно знать что для некоего там несильного улучшения сгорания смеси... при условии идеальной работы клапана)

Экология. Чуть быстрее нагревается мотор и ниже расход. Но очень не существенно

_________________
пыжж 307SW
Арфаграфия эта как Кунг-Фу - настаящия мастира ею никагда биз надабнасти нипользуюцца!


Вернуться к началу
 Профиль  
 
 Заголовок сообщения: Re: Клапан EGR
СообщениеДобавлено: 11.11.2012 0:47 
Не в сети

Зарегистрирован: 5.11.2012 20:42
Сообщения: 136
В общем господа, кто реально понимает как эта схема работает и можно ли все позаглушивать как я указал постом выше, прошу ответить несмотря на то насколько это сообщение устареет! Лично для меня тема будет оставаться актуальной до тех пор, пока не найду на нее ответ, хотя это уже конечно не горит...

_________________
Рено 19, двигатель F3N L-740, моно


Вернуться к началу
 Профиль  
 
 Заголовок сообщения: Re: Клапан EGR
СообщениеДобавлено: 29.11.2012 21:05 
Не в сети

Зарегистрирован: 29.11.2012 20:58
Сообщения: 2
Откуда: Минск
Господа, появился вопрос.
При нажатии на педаль газа загорается лампочка "накала свечей", обороты выше 1300 не растут (RENAULT SCENIC (JA0/1_) 1.9 dTi (JA0N), 1999 г.в.). Проблема в клапане EGR (РОГ)? Если да, то где он находится?
Спасибо.

_________________
Renault Scenic 1.9dTi 1999
Изображение


Вернуться к началу
 Профиль  
 
 Заголовок сообщения: Re: Клапан EGR
СообщениеДобавлено: 30.11.2012 15:31 
Не в сети

Зарегистрирован: 2.11.2011 21:29
Сообщения: 890
Откуда: Новополоцк-Минск
Лично я трубки (фланцы) 7,9,10 заглушил бы полностью со стороны карбюратора.
Трубки 6,11 и тройник L нужно оставить. Без отсоса картерных газов попрёт масло из сальников (также нужен маслоотделитель возле трубки 11). К третьему выводу тройника L можно подвести трубку 2 (от адсорбера B паров топлива). Всё остальное можно выкинуть (и заглушить.... или наоборот))).

Я так сам сделаю весной, когда буду ездить (машина на зимовке далеко в гараже).

Назначение системы ЕГР (и клапана) - снижение токсичности двигателя на больших оборотах и нагрузках путём снижения температуры горения в цилиндрах путём подмешивания части выхлопных газов. Работает это всё, как было сказано выше, по определённому алгоритму. Я думаю, что всё это положительно влияет на экологию, но отрицательно - на тяговые характеристики двигателя (пусть и незначительно). Я - за ампутацию!)))

_________________
Гусские не сдаются!
1.7 B53B F3N 740 1991
Изображение


Вернуться к началу
 Профиль  
 
 Заголовок сообщения: Re: Клапан EGR
СообщениеДобавлено: 12.12.2012 8:44 
Не в сети

Зарегистрирован: 5.11.2012 20:42
Сообщения: 136
Цитата:
Лично я трубки (фланцы) 7,9,10 заглушил бы полностью со стороны карбюратора.
Трубки 6,11 и тройник L нужно оставить. Без отсоса картерных газов попрёт масло из сальников (также нужен маслоотделитель возле трубки 11). К третьему выводу тройника L можно подвести трубку 2 (от адсорбера B паров топлива). Всё остальное можно выкинуть (и заглушить.... или наоборот))).


Я так понимаю, если абсорбера уже нет, то можно также заглушить и средний выход тройника L (как минимум). И как максимум поставить заглушку сразу на отстойнике I?

Кстати а насколько критично присутствие абсорьбера? С ЕГР понятно, что его отключение практически ничего не ухудшает даже для нового авто (с точки зрения тяговых и расходных характеристик).

_________________
Рено 19, двигатель F3N L-740, моно


Вернуться к началу
 Профиль  
 
 Заголовок сообщения: Re: Клапан EGR
СообщениеДобавлено: 12.12.2012 10:23 
Не в сети

Зарегистрирован: 5.11.2012 20:42
Сообщения: 136
Проснулся, прочитал ответ внимательнее, предыдущий вопрос по поводу тройника снят :)
Я так понял можно напрямую соединить отстойник и "карбюратор". Глушить отстойник полностью нельзя. Не понял только о каком маслоотделителе речь..

_________________
Рено 19, двигатель F3N L-740, моно


Вернуться к началу
 Профиль  
 
 Заголовок сообщения: Re: Клапан EGR
СообщениеДобавлено: 12.12.2012 10:58 
Не в сети

Зарегистрирован: 2.11.2011 21:29
Сообщения: 890
Откуда: Новополоцк-Минск
Вот этот отстойник я и назвал маслоотделителем, можно соединить напрямую с карбюратором. Глушить его нельзя, т.к. при работе двигателя часть газов просачивается внутрь картера (оттого и называются - картерные газы), от избыточного давления масло попрёт из сальников, поэтому (ну и также в целях экологии) их направляют в карбюратор (можно шланг на улицу вывести, но тогда на техосмотре будут проблемы).

_________________
Гусские не сдаются!
1.7 B53B F3N 740 1991
Изображение


Вернуться к началу
 Профиль  
 
 Заголовок сообщения: Re: Клапан EGR
СообщениеДобавлено: 12.12.2012 11:00 
Не в сети

Зарегистрирован: 2.11.2011 21:29
Сообщения: 890
Откуда: Новополоцк-Минск
Если адсорбера нет, тройник можно вообще убрать.
Он придуман буржуями для того, чтобы в домашнем гараже бензином от машины не воняло при стоянке, ну и в целях экологии - тоже

_________________
Гусские не сдаются!
1.7 B53B F3N 740 1991
Изображение


Вернуться к началу
 Профиль  
 
 Заголовок сообщения: Re: Клапан EGR
СообщениеДобавлено: 12.12.2012 16:49 
Не в сети

Зарегистрирован: 5.11.2012 20:42
Сообщения: 136
То есть, если мы хотим максимально упростить всю эту схему снижения токсичности, мы приходим к такой схеме:

Изображение

Лишнее просто стер, а верхнюю схему оставил для сравнения. Так будет правильно?

_________________
Рено 19, двигатель F3N L-740, моно


Вернуться к началу
 Профиль  
 
 Заголовок сообщения: Re: Клапан EGR
СообщениеДобавлено: 13.12.2012 9:25 
Не в сети

Зарегистрирован: 2.11.2011 21:29
Сообщения: 890
Откуда: Новополоцк-Минск
Всё правильно, именно это я и хотел сказать, но я сделал бы немного по-другому. Трубку из бака я не глушил бы, а пустил на тройник, т.к. если её заглушить (трубку из бака),то возникнет некоторое избыточное давление в баке (от испарения бензина), а каким боком это может вылезти - не знаю, поэтому и поступил бы так, как описал выше.

_________________
Гусские не сдаются!
1.7 B53B F3N 740 1991
Изображение


Вернуться к началу
 Профиль  
 
 Заголовок сообщения: Re: Клапан EGR
СообщениеДобавлено: 13.12.2012 14:03 
Не в сети

Зарегистрирован: 5.11.2012 20:42
Сообщения: 136
Ну у меня трубка от бака давно заглушена, если это не влияет на тягу (с чем у меня сейчас и есть некоторые проблемы) то думаю все вполне безопасно... либо бак сифонит :)
Но наверное тоже так сделаю, как вы предлагаете. А вообще большое спасибо за помощь! А то 11 страниц темы и все объяснения какими-то полупонятными урывками.

_________________
Рено 19, двигатель F3N L-740, моно


Вернуться к началу
 Профиль  
 
 Заголовок сообщения: Re: Клапан EGR
СообщениеДобавлено: 13.12.2012 14:50 
Не в сети

Зарегистрирован: 5.11.2012 20:42
Сообщения: 136
То есть в итоге мы приходим к такой схеме (может кому-то еще понадобиться)

Изображение

_________________
Рено 19, двигатель F3N L-740, моно


Вернуться к началу
 Профиль  
 
 Заголовок сообщения: Re: Клапан EGR
СообщениеДобавлено: 13.12.2012 17:10 
Не в сети

Зарегистрирован: 2.11.2011 21:29
Сообщения: 890
Откуда: Новополоцк-Минск
Точно!
Но т.к. адсорбер у меня есть, то в разрыве между тройником и баком он у меня будет. Весной (когда буду ездить) так и сделаю, может обороты на место встанут тогда (должно 750+/-50, сейчас - 800-900)
Пользуйтесь на здоровье)

_________________
Гусские не сдаются!
1.7 B53B F3N 740 1991
Изображение


Вернуться к началу
 Профиль  
 
 Заголовок сообщения: Re: Клапан EGR
СообщениеДобавлено: 26.06.2013 11:34 
Не в сети
Аватара пользователя

Зарегистрирован: 5.05.2013 19:00
Сообщения: 107
Откуда: РФ, Владимирская обл.
Про поиск клапана на монике написано много, а где его искать на двигателе f3n742?

_________________
R19-I, F3N742


Вернуться к началу
 Профиль  
 
Показать сообщения за:  Поле сортировки  
Начать новую тему Ответить на тему  [ Сообщений: 167 ]  На страницу Пред.  1 ... 8, 9, 10, 11, 12  След.

Часовой пояс: UTC + 2 часа [ Летнее время ]


Вы не можете начинать темы
Вы не можете отвечать на сообщения
Вы не можете редактировать свои сообщения
Вы не можете удалять свои сообщения
Вы не можете добавлять вложения

Найти:
Перейти:  
Powered by phpBB® Forum Software © phpBB Group
Русская поддержка phpBB